ENK14-S-00972-R-0-0-2-0
Can't find what you're looking for? Go to the Product Selector
直線運動單元,
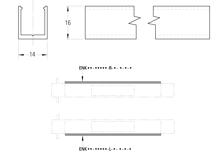
- The ENK option consists of ENT14 x16 sensor rails profiles that run along the entire profile of the unit. Maximum length of ENT rails is 3000mm
- The sensors are fitted to the sensor rail by the customer at the desired positions.
- Note1! WM120 and WV120 units do not require any ENF or ENK options as the EN2 sensors can be fitted directly to the profile of the units.
- Note2! The ES limit switch option and ENT rail cannot be mounted on the same side of the unit.
- Note3! Movopart M50/75/100 units require adapter plates for mounting the ENF/ENK to the profile.
